CRAB-M household and communal gas meter calibrator
(joint development with NIITeplopribor JSC)
The unit is designed for calibration of gas meters used on gas supply lines in various industries and gas facilities, including imported meters.
The unit is portable and can be used directly at the installation site of the calibrated meter without dismantling it from the gas pipeline.
The unit complies with the requirements of TU 4213-168-00229792-2012.
During calibration using the unit, the relative error of gas meters is determined.
The unit is used by companies engaged in the operation, repair and calibration of gas meters and is intended for calibration of gas meters with the following standard sizes: G0,6; G1,0; G1,6; G2,5; G4,0; G6,0.
The unit consists of the following main components:
-
pneumatic unit (PU)
-
electronic unit (EU)
The PU system of gas pipelines and cranes allows smooth adjustment of the gas flow in the calibrated and standard meters. The EU laptop receives a signal from the standard meter (as well as from the calibrated meter, if an output signal available).
The electronic unit is designed to:
-
calculate volumes passed through calibrated and standard meters
-
determine the accuracy of the calibrated meter
-
manually input of the volume passed through the calibrated meter

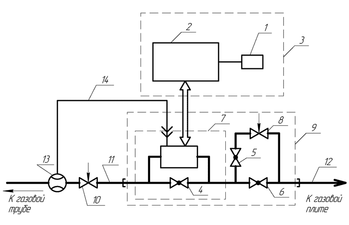
Scheme of gas meter calibration at the CRAB-M installation
1 - power supply; 2 - laptop; 3 - electronic unit; 4, 5, 6 - cranes; 7 - reference jet meter; 8 - nozzle; 9 - pneumatic unit; 10 - valve; 11, 12 - connection hoses; 13 - calibrated gas meter; 14 - signal cables.
.jpg)
Connection scheme of the CRAB-M standard system for calibration of meters at the place of operation
1 - pipe (tap - gas meter); 2 - CRAB-M flexible supply line; 3 - pipe (gas meter - gas stove)
